※ 동서울터미널 운행 시간표
동서울터미널 운행 시간표 조회 방법에 대해서 안내해드릴텐데요! 동서울터미널 운행 시간표를 조회하려면 도착지를 선택하여야 하니 미리 도착지가 어디인지 정확하게 파악을 해놓아야 합니다.

그럼 동서울터미널 운행 시간표 조회방법을 설명해드리겠습니다.
동서울터미널 운행 시간표를 조회하시려면 홈페이지에 접속하여야 하는데 시외버스 통합예매시스템이라고 검색하셔서 홈페이지에 접속해주시기 바랍니다.

사이트에 접속하시면 승차권 예매 조회 화면이 나오게 됩니다.
동서울터미널 운행 시간표 조회를 하려면 예매 조회를 하시면 됩니다. 예매 조회는 출발지, 도착지, 가는일을 선택하시면 됩니다.

동서울터미널 운행 시간표를 조회를 해야하기 때문에 출발지를 동서울터미널로 선택을 하시면 됩니다.

주요출발지에 동서울터미널이 있기때문에 출발지는 쉽게 선택할 수 있습니다.

출발지를 선택하셨으면 이제 도착지를 선택하여야 합니다.
시간표를 확인하시고 싶은 도착지를 선택하시면 되고 선택을 하셨으면 가는일을 선택하여야 합니다.
가는일은 그 다음날로 선택을 하시거나 다른날로 선택을 하려면 가는 시간을 00:00으로 선택을 하여야 합니다.
가는 시간은 00:00 으로 선택하지 않고 13시나 15시로 선택할 경우 전체 시간표를 확인할 수 없는데 13시를 선택할 경우 13시 이후의 시간표를 15시로 선택할 경우 15시 이후의 시간표를 확인하실 수 있습니다.

출발지, 도착지, 가는일, 가는 시간을 다 선택하셨으면 조회 버튼을 클릭하시면 되고 조회 버튼을 클릭하면 주의사항 창이 열립니다.
예매를 하는 것이 아니고 시간표만 확인할 것이기 때문에 안읽어보셔도 되고 바로 동의 버튼을 클릭하시면 됩니다.

동의 버튼을 클릭하고 나면 선택한 출발지와 도착지가 보이고 가는 일이 보입니다.
이 상태에서 화면을 아래로 조금 내리시면 도착지로 가는 동서울터미널 운행 시간표를 확인하실 수 있습니다.
저는 도착지를 강릉시외터미널로 선택했기때문에 강릉시외터미널로 가는 시간이 나옵니다.

강릉시외버스터미널로가는 동서울터미널 운행 시간표입니다.
출발시간이 6시 32분, 6시 40분, 7시 10분, 7시 40분, 8시, 8시 15분, 9시 1분, 9시 35분, 10시 10분, 10시 25분이라고 되어있습니다.
그리고 아래쪽을 보시면 다음 시간 버튼이 보입니다. 다음시간을 클릭하시면 10시 25분 이후의 시간표를 보실 수 있습니다.

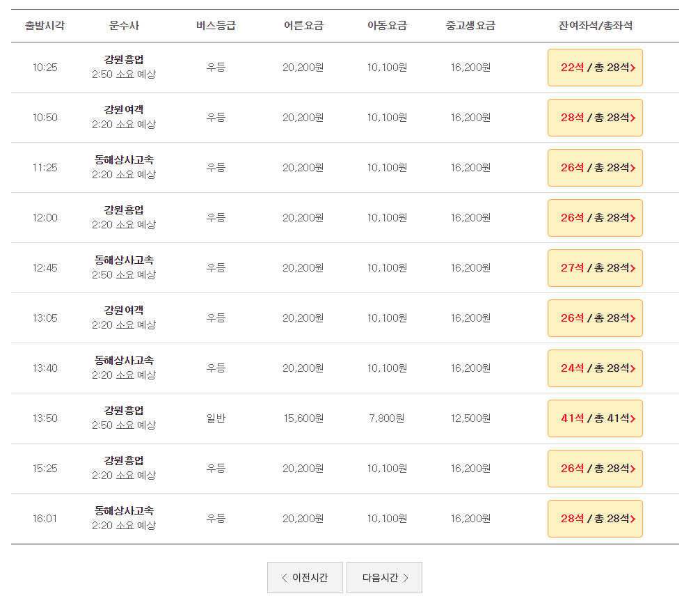
다음 시간을 클릭하면 이렇게 다음 출발시간이 확인됩니다.
10시 25분, 10시 50분, 11시 25분, 12시, 12시 45분, 12시 5분, 13시 40분, 13시 50분, 15시 25분, 16시 1분이라고 되어 있습니다.
이렇게 넘기시면서 시간표를 확인하시면 되겠습니다.

그리고 클릭을 하시면 이렇게 노성을 확인하실 수 있습니다.
동서울 -> 장평 -> 진부 -> 횡계 -> 강릉시외터미널 이라고 노선이 되어 있습니다. 그리고 요금도 확인할 수 있고 잔여좌석도 확인하실 수 있습니다. 10시 25분 출발 기준으로 어른요금 20,200원, 아동요금 10,100원, 중고생요금 16,200원이라고 되어 있습니다.

동서울터미널 운행 시간표 조회 방법을 요약하면 출발지를 동서울터미널로 선택, 출발지를 선택 가는일을 선택하는데 가는시간은 00:00으로 선택입니다.
위 방법으로 동서울터미널 운행 시간표 조회를 해보시기 바랍니다.
댓글